
Apple elastiki ekrana sahib smart saatı patentləşdirib
Elm & Texnologiya
16.06.2023
Emil
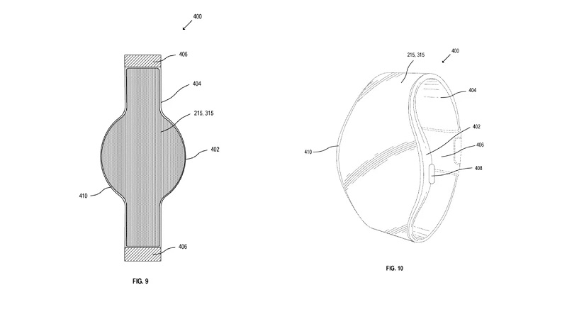
İnternetdə Apple şirkətinin yeni patenti ortaya çıxıb və ortaya çıxmış patentdə orijinal konstruksiyaya sahib yeni smart saat modeli təsvir olunub. Patent məlumatlarına əsasən təsvirlərdə əks olunmuş yeni smart saat elastiki ekrana sahib olacaq. Elastiki ekran smartfonun ön panelinin bütün sahəsinin əhatə etməklə yanaşı həmçinin qismən kəmər hissəsini də əhatə edir. Patent sənədlərində qeyd edilib ki, smart saatın kəmərinin müəyyən fraqmentləri həm aşağı həm də üst hissədən elastiki ekranlara sahibdilər və onlar əsas ekranın bir hissəsi qismində çıxış edirlər. Nəticədə istifadəçinin biləyi tamamilə ekran ilə əhatə oluna bilər. Patent sənədlərində bu cür smart saatın funksionallığı barəsində heç bir məlumat əks olunmayıb. Apple şirkətinin nəticədə bu cür smart saatı istehsal edib satışa çıxaracağı isə bilinmir.
Paylaş
Bənzər xəbərlər