
Apple Mac kompüterləri üçün Face ID analoqunu patentləşdirib
Elm & Texnologiya
20.06.2023
Emil
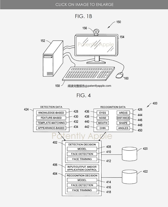
ABŞ-ın patent təşkilatının məlumatlar bazasında Apple kompüterləri üçün nəzərdə tutulmuş yeni biometrik autentifikasiya sisteminin təsviri ilə bağlı sənədlər ortaya çıxıb. Patent sənədlərində təvir edilmiş skan sistemi artıq iPhone-larda istifadə edilən Face ID sistemini xatırladır. Lakin bununla belə patentləşdirilmiş biometrik autentifikasiya sistemi bir neçə maraqlı funksiyanı da təklif edir.
Patent sənədlərinə əsasən şirkət Mac kompüterləri üçün nəzərdə tutulmuş Face ID analoqunun elektron poçt servisinə daxil olmaq üçün istifadəsini nəzərdən keçirdir. Bu cür istifadə ssenarisi çərçivəsində sözügedən biometrik autentifikasiya sistemi Mac kompüterlərində əlavə təhlükəsizlik üsulu kimi çıxış edə bilər. Bununla yanaşı patent məlumatlarında qeyd edilib ki, yeni nəsil Face ID sistemi istifadəçini bir göz skanı vasitəsilə də tanıya bilər. Apple şirkətinin Mac kompüterlərində bu cür biometrik autentifikasiya sistemini nə zaman reallaşdıracağı bilinmir.
Paylaş
Bənzər xəbərlər