
"Apple", qıraqları bükülə bilən ekrana sahib cihaz üzərində çalışır.
Elm & Texnologiya
07.05.2017
Farid
ABŞ-ın patent təşkilatının saytında "Apple” şirkətinin yeni cihazı barədə ərizələrə rast gəlinib.
Xarici görünüşcə yeni cihaz,qıraqları bükülmüş papirusa bənzəyir.
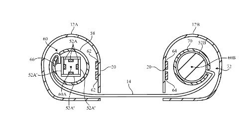
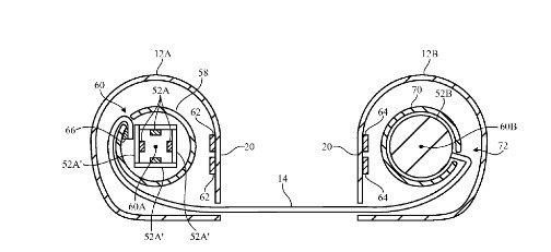
Patent ərizələrdə əks olunmuş cihazın fotolarından da görmək olar ki, o, OLED ekrana sahib olacaq və həmin ekran bükülə bilmək xüsusiyyətinə sahib olacaq.
Bükülü vəziyyətdə isə ekran, alüminium bərkidicilər vasitəsilə qalacaq.
Alüminium bərkidicilərin daxilində xüsusi mexanizm olacaq hansı ki, ekranı
yenidən bükülmüş vəziyyətdən açılmağa imkan verməyəcək. Həmçinin cihazın bu
hissəsinə onun prosessoru, RAM-ı, daxili yaddaşı, batareyası və digər özəllikləri
yerləşdiriləcək. Təbii ki, bu yalnız patentdir. Sözügedən cihaz yaxın bir neçə
il ərzində satışa çıxa da bilər, sadəcə olaraq patent şəklində qala da bilər.
Bununla belə papirusa bənzər və əyilə bilən ekrana sahib cihaz yeni ideya
olmasa da çox maraqlıdır.
Paylaş
Bənzər xəbərlər