
"Apple", səsgücləndiriciyə çevrilə bilən qulaqlıqların patentini alıb
Elm & Texnologiya
07.05.2017
Farid
Hər bir qulaqlıqların əsas özəlliklərindən biri onların səsizolyasiyalarıdır.
Lakin təəssüflər olsun ki,
istehsalçılar çox zaman bu özəlliyə önəm yetirmirlər. Nəticə etibarı ilə
insanlar kənar səslərin də iştirakı ilə musiqiyə qulaq asırlar. Görünür "Apple”
şirkəti bu vəziyyəti daha da pisləşdirmək istəyir. Məsələ burasındadır ki, şirkət,
xüsusi ikirejimli qulaqlıqların patentini əldə edib. İstifadəçi istədiyi vaxt
onları adi qulaqlıqlar kimi və ya səsgücləndiricilər kimi istifadə edə biləcək.
Səsgücləndiricilər çox adamlar da olmur. Lakin qulaqlıqlar hamıda mövcuddur. "Apple”ın
fikrincə sözügedən qulaqlıq, daha gur tərzdə musiqiyə qulaq asmaq üçün yaxşı
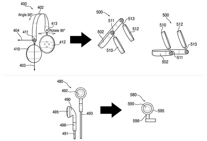
portativ cihaz ola bilər. Şirkət tərəfindən patentləşdirilmiş cihaz, iki fərqli
hissədən ibarətdir. Həmin iki hissə isə öz yerdəyişməsindən asılı olaraq səs
siqnalının çıxış mənbəyini dəyişə bilir. Xüsusi sensorlar müəyyən edəcəklər ki, qulaqlıqlar həqiqətən də qulaqda yerləşir yoxsa yox. İstifadəçi, qulaqlığı
taxdığı halda standart səs rejimi, çıxartdığı halda isə daha güclü səsgücləndirici
rejimə keçid edir. Bundan əlavə olaraq istifadəçi özü düymələrin vasitəsilə bu
iki rejim arasında keçidi reallaşdıra bilər. Sözügedən patentin
reallaşdırılması barəsində isə hələki heç bir məlumat yoxdur.
Paylaş
Bənzər xəbərlər