
Apple şirkəti kamera obyektivinə sahib yeni Apple Watch-u patentləşdirib
Elm & Texnologiya
16.02.2023
Emil
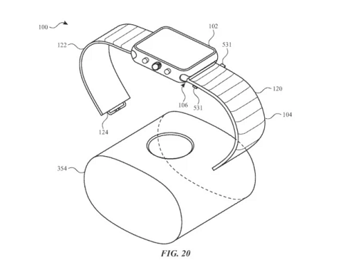
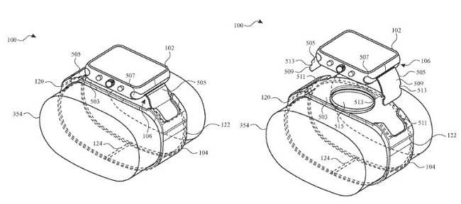
Apple şirkətinin qeydiyyatdan keçirtmiş olduğu yeni patenti kamera obyektivinə sahib yeni Apple Watch-u təsvir edir. Patentdə əks olunmuş yeni Apple Watch-un əsas fərqləndirici özəlliyi kamera obyektivinin yerləşmə tərzidir. Qeyd etmək lazımdır ki, daha əvvəllər internetdə buna bənzər eskiz fotolar ortaya çıxıb. Həmin fotolarda kamera obyektivi smart saatın kəmərində yerləşdirilib. Lakin Apple tərəfindən qeydiyyata alınmış yeni patentdə kamera obyektivi cihazın tamamilə fərqli hissəsində yerləşdirilib.
Beləliklə patent sənədlərinə əsasən cihaz smart saatın özünü kəmər hissədən sürətlə ayırmaq üçün xüsusi qolbaq konstruksiyasına sahibdir. İstifadəçi smart saatı kəmərdən ayırandan sonra onun vasitəsilə foto və video çəkə bilər. Kamera obyektivinin özü isə birbaşa smart saatın gövdəsində yerləşdirilib. O isə öz növbəsində kəmərə maqnitlər və ya xüsusi kilid sistemi vasitəsilə bərkidilir. Apple şirkətinin nəticədə bu cür smart saatı istehsal edib-etməyəcəyi bilinmir. Sözügedən cihaz nəticədə sadəcə patent kimi də qala bilər.
Paylaş
Bənzər xəbərlər