
"Apple" işi gücü atdı, indi də çanta patenti aldı!
Elm & Texnologiya
07.05.2017
Farid
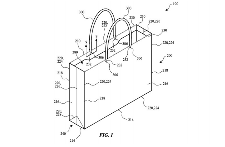
Texnologiya nəhəngi "Apple”ın yeni patenti bir iPhone ilə deyil, məhsulları daşımağımıza yarayan çanta ilə bağlıdır.
Yeni ağıllı telefonları iPhone 7 və iPhone 7 Plus-ı təqdim
edən "Apple”ın patent sahəsində gələcəyə yönəlik məhsulları üçün müxtəlif
addımlar atması gözlənilərkən, şirkət gözlənilməyən yeni bir patent aldı.
Belə ki, yeni bir telefon ya da kompüter hazırlamaq üçün işləyən "Apple”,
eyni zamanda ekoloji təmiz və güclü yeni bir çanta patenti aldı. Əslində
mağazalarda əlavə ödəniş ödənərək paket məqsədi ilə istifadə ediləcəyi düşünülən
"Apple”ın patentini aldığı çanta, xüsusilə 60%-i təkrar istehsal maddələrdən
hazırlandığı üçün təbiət dostu olması ilə diqqət çəkir.
Hər mövzuda ekologiyaya diqqət yetirən "Apple”ın təqdir
toplayan yeni patenti hələki dəqiq bir layihə olaraq qarşımıza çıxmayıb. Ancaq
patenti əsas götürərək deyə bilərik ki, üstün texnologiyaya ehtiyyac olmadan
hazırlanacaq bir çanta olduğu üçün "Apple”ın yeni təbiət dostu məhsulu yaxında
həyatımıza girə biləcək.
Paylaş
Bənzər xəbərlər