
"Apple", Qatlana bilən iPhone patentini aldı!
Elm & Texnologiya
07.05.2017
Farid
"Apple"ın yeni patenti, şirkətin qatlanıla bilən bir ağıllı telefon istehsal edə biləcəyini göstərir.
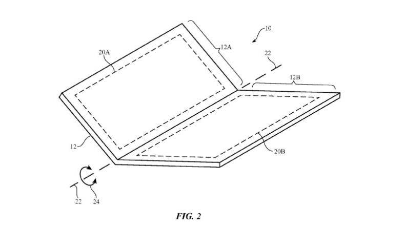
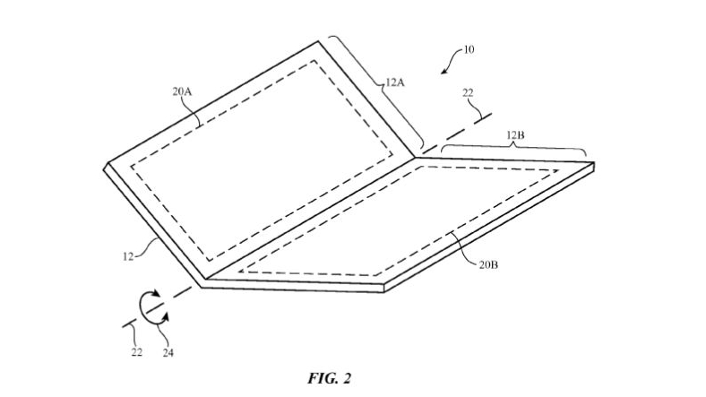
2013-cü ildən bəri qatlanıla bilən ağıllı telefonlarla adı çəkilən "Apple", bu məqsədi uğrunda daha bir mühüm addım atdı. Əsası Amerikada yerləşən texnologiya şirkətinin, qatlana bilmə xüsusiyyətinə sahib olan iPhone-larla bağlı yeni bir patent aldığı ortaya çıxdı.
Bir çox "Apple" patentində olduğu kimi bu patentdə Patently Apple tərəfindən ortaya çıxarıldı. Patentdə yer alan məlumatlara görə patent müraciəti, bu ilin Avqust ayının 28-də edilib. Yəni iPhone 7-nin təqdim edilməsindən sadəcə bir neçə gün əvvəl.
"Apple"ın patentini digər qatlana bilən ağıllı telefon patentlərindən fərqli edən şey, patentin məlumat hissəsində "karbon nanoboru" termininin yer almasıdır. "Apple", naqilləri və şəbəkələri olduqca yaxşı bir şəkildə qoruya bilən, toxunmağa qarşı həssas səth və hətta ekran təchizatı olaraq istifadə edilə bilən bu maddə ilə ağıllı telefonun qatlana bilən qismini istehsal etmək istəyir.
Patentdə yer alan bir digər maraqlı məlumat da iPhone-un əsas materialının şüşə, keramika, fiber, alüminium ya da plastik ola biləcəyidir. Açıq danışmaq lazımdırsa, bu materialların iPhone-u elastikliyə qarşı dayanıqlı etmək baxımından istifadə edilməsi daha ağıllı olardı amma nəysə artıq.
Son olaraq bunu ifadə etməliyik ki, "Apple"ın belə bir patent almış olması, şirkətin yaxın bir tarixdə qatlana bilən ağıllı telefon istehsal edəcəyi mənasına gəlmir. Bir çox ağıllı telefon istehsalçısı qatlana bilən ağıllı telefon patentinə sahibdir lakin buna baxmayaraq qatlana bilən cihaz istehsal etmək təəssüf ki, hələlik yaxşı bir marketinq strategiyası deyil.
Paylaş
Bənzər xəbərlər