
"Apple"ın VR cihazının patent fotoları sızdırıldı
Elm & Texnologiya
07.05.2017
Farid
Görünür "Apple” da VR cihazlar bazarına daxil olmağı planlaşdırır.
Belə ki, ABŞ-ın ticarət nişanları
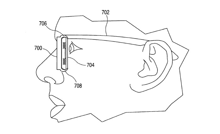
üzrə patent bürosu şirkətə "portativ və ekrana sahib elektron cihazı saxlamaq
üçün alət”in patentini təqdim edib. Təsvirə əsasən şirkət kiçik ekranlı cihaza
öz diqqətini yönəldib. Başqa sözlə desək söhbət Samsung Gear VR cihazının
analoqu olan digər bir cihazdan gedir. Qeyd edək ki, Gear VR-ın əsas özəlliyi
cihazın ekran funksiyasını smartfonun ekranının yerinə yetirməsidir. "Apple”
patentindədə iPhone model smartfonların yerləşdiriləcəyi kiçik yer olan xüsusi
eynəklər təsvir olunub. Bu halda portativ cihazın ekranı başa taxıla bilən
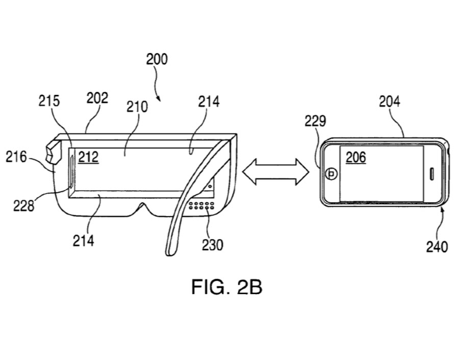
ekran rolunu oynayacaq. Şirkətin VR cihazı bir neçə linzadan, məsafə
ötürücüsündən, sensor paneldən, bir neçə idarəetmə düyməsindən və fokuslamaq
üçün kiçik təkərdən ibarət olacaq. Həmçinin şirkət, cihazı uzaqdan idarə
üçün xüsusi pult da təqdim edəcək. Bu halda məlumatların ötürülməsi naqilsiz
interfeys vasitəsilə reallaşacaq. Maraqlısı ondadır ki, "Apple” sözügedən
cihazın patenti üçün hələ 2008-ci ildə qeydiyyatdan keçmişdir. O dövrdə nəinki
Gear VR, hətta Oculus Rift kimi layihələr belə yox idi.
Paylaş
Bənzər xəbərlər