
"Samsung" əyilə bilən smartfonları nə zaman satışa çıxardacaq?
Elm & Texnologiya
07.05.2017
Farid
"Samsung” şirkəti artıq neçə ildir ki, əyilə bilən smartfon və planşetlərin satışa çıxmasını söz verir.
Keçən il şirkət rəsmiləri söz vermişdilər ki, ilk belə
cihazlar artıq 2016-cı ildə satışa çıxacaq. Lakin bu ilin may ayında xəbər
yayıldı ki, həmin cihazların çıxışı 2017-ci ilə təxirə salınıb. Bir ay sonra isə
şirkətin ABŞ şöbəsi prezidenti Qreqori Li (Gregory Lee) təsdiqlədi ki, şirkət
artıq bu cür cihazlar üzərində işləyir və onları gözləmək çox vaxt almayacaq. "Technote.az”ın
"Phonearena.com”a istinadən verdiyi xəbərə əsasən internetə "Samsung”un müxtəlif
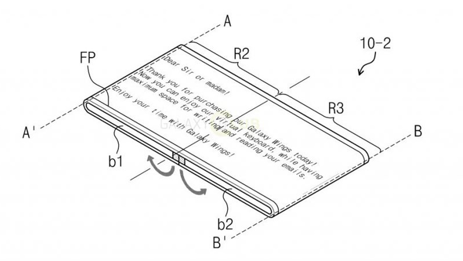
əyilə bilən cihazlarının təsviri olan patentləri sızdırılıb. Maraqlısı ondadır
ki, patentlərdə əks olunmuş cihazların hamısı Galaxy Wings adlanır. Çox güman
ki, şirkətin əyilə bilən cihazlar seriyası məhz belə adlanacaq. Sızdırılmış
patent fotolarda cihazın müxtəlif cür istifadəsi əks olunmuşdur. Məsələn cihazı
əyərək qolbaq kimi istifadə etmək və ya virtual klaviaturaya və sotlüstü saata
çevirmək. Lakin şirkətin ilk əyilə bilən smartfonunun görünüşü hələki sirr
olaraq qalır.
Paylaş
Bənzər xəbərlər